BXH Model Brake


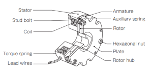
BXH_info The BXH model brakes are mainly designed for holding rotational position, with the added ability for dynamic emergency braking.  Our proprietary friction discs offer robust performance, paired with a long life cycle.  The BXH is ready to use right out of the box, eliminating so called: ‘run-in’ time and conditioning requirements seen with other brakes on the market.  We engineered flat springs on the outer periphery of the rotor hub, which reduces unpleasant high-frequency friction noise that occurs during operation. 
  • Torque from 4 to 44 Nm
  • Long lifetime
  • Stabile switching process
  • Low noise creation
  • RoHS compliant